什么是止回阀?止回阀的作用?止回阀是一种应用广泛的单向流体控制装置,其主要功能是防止管道系统中的介质发生逆流。它是一种自动阀门,无需人工操作,仅依靠管道内介质的流动和压力变化来实现启闭。止回阀通常用于工业、民用建筑供水、排水系统以及石油、化工、制药等领域中,以保护设备及管道的正常运行。

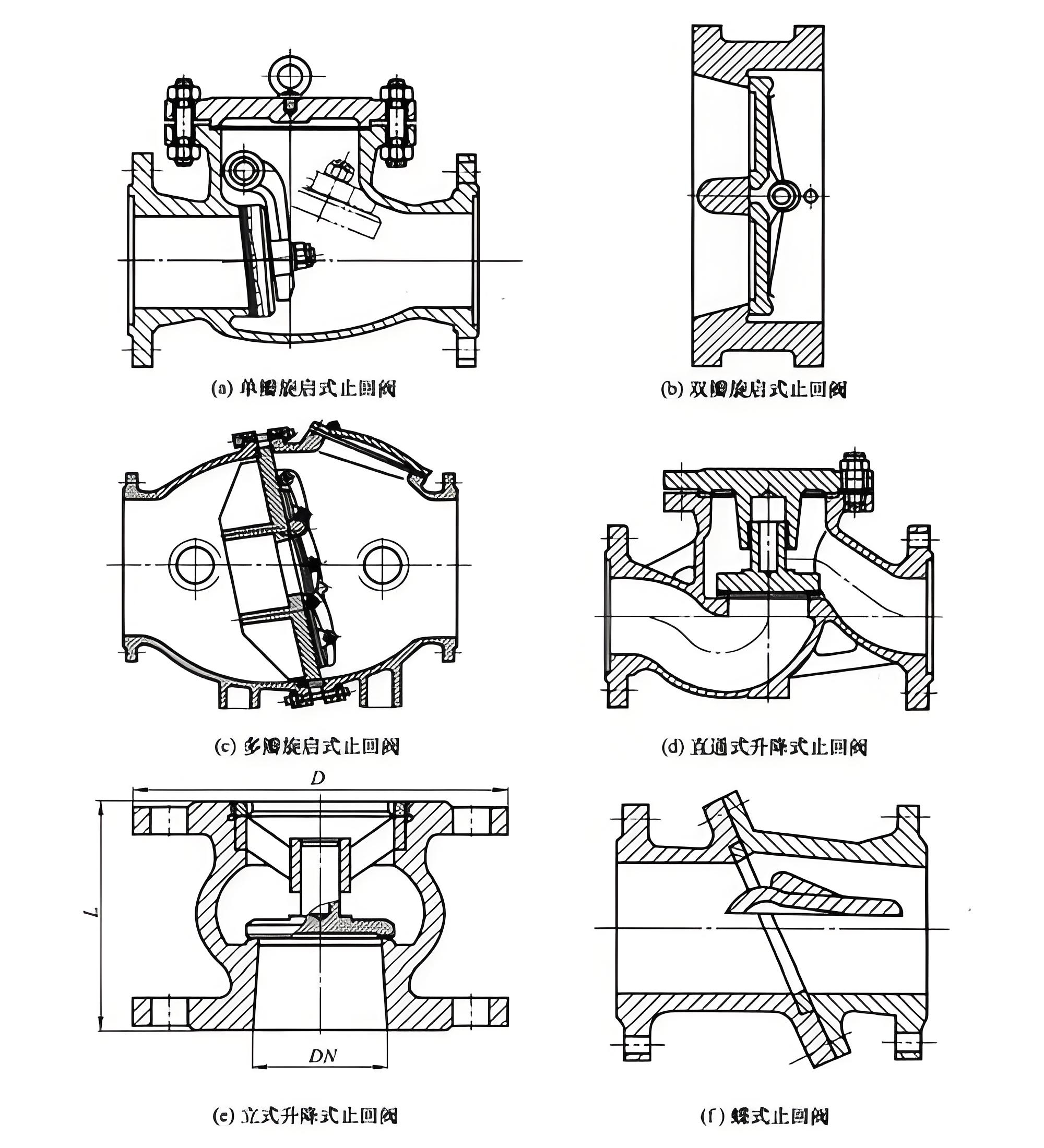
止回阀的结构和工作原理决定了其特殊作用。止回阀的关键部件包括阀体、阀瓣和阀座。正常情况下,当介质按设计方向流动时,阀瓣会被压力推开,允许流体通过;当介质反向流动时,阀瓣会自动关闭,在逆向压力作用下严密贴合于阀座上,从而有效地阻止回流。根据形式的不同,止回阀可以分为旋启式止回阀、升降式止回阀、蝶形止回阀等多类,它们的具体选择取决于应用场景。

止回阀的作用具有多方面的意义。首先,它能够防止设备因介质回流而受到损坏。例如,在水泵系统中,止回阀可避免水泵出现因突然断电而导致的水流倒灌现象,从而保护泵体及其他部件。其次,止回阀可以减少能量损失,提高系统效率,通过避免回流所需的额外处理耗费。此外,止回阀还能防止危害性物质的扩散。在化工管道中,若发生意外泄漏,止回阀能够起到隔离作用,减少事故影响。

综上所述,止回阀在流体控制系统中扮演着至关重要的角色。合理选择和维护止回阀不仅可以提高系统运行的可靠性,还能显著延长设备的使用寿命。作为一种重要的管路配件,它为现代工业和生活提供了安全和高效的流体管理保障。
